< Previous   Next >

2014 - Mazda6 - Body and Accessories

INSTRUMENT CLUSTER

Outline

Function

Speedometer display function
Tachometer display function
Fuel gauge display function
Odometer/tripmeter display function
Trip computer calculation function
Warning/Indicator lights illuminate/flash function

Type A (with TFT LCD)

×: Applicable—: Not applicable

No

Warning/Indicator lights

Name

Messages*1

Comment

Warning/indicator lights which illuminate during initial check

Reference

1

TCS/DSC indicator light

×

(See TCS/DSC INDICATOR LIGHT.)

2

High beam control (HBC) system warning light (amber)/indicator light (green)

  • HBC Inspection Required

  • FSC Inspection Required

  • HBC, LDWS Defog windshield completely

  • HBC, LDWS Clear windshield completely

With HBC System

×

(See HBC INDICATOR LIGHT (GREEN)/HBC WARNING LIGHT (AMBER).)

3

AFS OFF indicator light

With AFS

×

(See AFS OFF INDICATOR LIGHT.)

4

DSC OFF indicator light

×

(See DSC OFF SWITCH, DSC OFF INDICATOR LIGHT.)

5

SPORT mode Indicator Light

With drive Selection

(See SPORT MODE INDICATOR LIGHT [SKYACTIV-G 2.5].)

6

Check engine light

  • Engine Inspection Required

×

(See CHECK ENGINE LIGHT [SKYACTIV-G 2.5].)

7

Cruise main indicator light (amber)/cruise set indicator light (green)

With cruise control system

(See CRUISE MAIN INDICATOR LIGHT (AMBER), CRUISE SET INDICATOR LIGHT (GREEN) [SKYACTIV-G 2.5].)

Mazda radar cruise control (MRCC) warning light (amber)/indicator light (green)

  • MRCC Inspection Required

  • SBS, MRCC, DRSS Radar blocked

  • MRCC Not available

  • MRCC Cancelled

  • Shift UP/DOWN

  • BRAKE

With MRCC

×

(See MAZDA RADAR CRUISE CONTROL (MRCC) SYSTEM [MAZDA RADAR CRUISE CONTROL (MRCC) SYSTEM].)

8

Turn signal/hazard warning indicator lights

(See TURN SIGNAL/HAZARD WARNING INDICATOR LIGHTS.)

9

Master warning light

  • Low oil pressure Engine damage possible Check oil level

  • Vehicle System Inspection Required

  • Brake Override System Inspection Required

  • Charging system malfunction Engine could stop unexpectedly

  • Power Steering malfunction Stg will be very difficult

  • Check Fuel Cap

  • SCBS Inspection Required

  • AT malfunction

  • Keyless System Inspection Required

  • FOW Inspection Required

×

(See MASTER WARNING LIGHT.)

10

Low fuel warning light

  • Refill Fuel Tank

(See LOW FUEL WARNING LIGHT.)

11

Brake system warning light

  • Brake Inspection Required

  • Brake Fluid Level Low

  • Release Parking Brake

×

(See BRAKE SYSTEM/ABS WARNING LIGHT.)

12

Security indicator light

×

(See SECURITY INDICATOR LIGHT.)

13

Low engine coolant temperature indicator light (blue)/high engine coolant temperature warning light (red)

  • Engine Coolant Temperature High

  • Stop Vehicle at safe area

×

(See LOW ENGINE COOLANT TEMPERATURE INDICATOR LIGHT (BLUE)/HIGH ENGINE COOLANT TEMPERATURE WARNING LIGHT (RED).)

14

ABS warning light

×

(See BRAKE SYSTEM/ABS WARNING LIGHT.)

15

Tire pressure monitoring system warning light

  • TPMS Inspection Required

  • Check Tyre Pressure

  • Tyre Pressure Monitor Initialized

With TPMS

×

(See TIRE PRESSURE MONITORING SYSTEM WARNING LIGHT.)

16

Seat belt warning light

(See SEAT BELT WARNING LIGHT.)

17

Lane departure warning system (LDWS) warning light (amber)/indicator light (green)

  • LDWS Inspection Required

  • FSC Inspection Required

  • HBC, LDWS Defog windshield completely

  • HBC, LDWS Clear windshield completely

With LDWS

×

(See LDWS INDICATOR LIGHT (GREEN)/LDWS WARNING LIGHT (AMBER).)

18

Air bag/front seat belt pretensioner system warning light

×

(See AIR BAG SYSTEM WARNING ALARM.)

19

Headlight high-beam indicator light

(See HEADLIGHT HIGH-BEAM INDICATOR LIGHT.)

20

Lights-on indicator light

  • Headlights On

(See LIGHTS-ON INDICATOR LIGHT.)

21

Shift position indicator/gear position indicator

ATX

(See SHIFT POSITION INDICATOR LIGHT [FW6A-EL].)

(See GEAR POSITION INDICATOR [FW6A-EL].)

22

BSM OFF indicator light

With BSM

×

(See BLIND SPOT MONITORING (BSM) OFF INDICATOR LIGHT.)


*1
For the system without the warning light/indicator light, refer to the message in the LIQUID CRYSTAL DISPLAY (LCD).

Type B (without TFT LCD)

×: Applicable—: Not applicable

No.

Warning/Indicator lights

Name

Comment

Warning/indicator lights which illuminate during initial check

Reference

1

TCS/DSC indicator light

×

(See TCS/DSC INDICATOR LIGHT.)

2

High beam control (HBC) system warning light (amber)/indicator light (green)

With HBC system

×

(See HBC INDICATOR LIGHT (GREEN)/HBC WARNING LIGHT (AMBER).)

3

Engine oil pressure warning light

×

(See ENGINE OIL PRESSURE WARNING LIGHT.)

4

KEY warning light (red)/indicator light (green)

(See KEY WARNING LIGHT (RED)/KEY INDICATOR LIGHT (GREEN).)

5

Check engine light

×

(See CHECK ENGINE LIGHT [SKYACTIV-G 2.5].)

6

Turn signal/hazard warning indicator lights

(See TURN SIGNAL/HAZARD WARNING INDICATOR LIGHTS.)

7

Automatic transaxle warning light

ATX

×

(See AUTOMATIC TRANSAXLE WARNING LIGHT [FW6A-EL].)

8

Cruise main indicator light (amber)/cruise set indicator light (green)

With cruise control system

×

(See CRUISE MAIN INDICATOR LIGHT (AMBER), CRUISE SET INDICATOR LIGHT (GREEN) [SKYACTIV-G 2.5].)

9

Lights-on indicator light

(See LIGHTS-ON INDICATOR LIGHT.)

10

Lane departure warning system (LDWS) warning light (amber)/indicator light (green)

With LDWS

×

(See LDWS INDICATOR LIGHT (GREEN)/LDWS WARNING LIGHT (AMBER).)

11

Door-ajar warning light

(See DOOR-AJAR WARNING LIGHT.)

12

Low engine coolant temperature indicator light (blue)/high engine coolant temperature warning light (red)

×

(See LOW ENGINE COOLANT TEMPERATURE INDICATOR LIGHT (BLUE)/HIGH ENGINE COOLANT TEMPERATURE WARNING LIGHT (RED).)

13

Low fuel warning light

(See LOW FUEL WARNING LIGHT.)

14

Check fuel cap warning light

×

(See CHECK FUEL CAP WARNING LIGHT [SKYACTIV-G 2.5].)

15

ABS warning light

×

(See BRAKE SYSTEM/ABS WARNING LIGHT.)

16

Low washer fluid level warning light

(See WASHER FLUID-LEVEL SENSOR.)

17

AFS OFF indicator light

With AFS

×

(See AFS OFF INDICATOR LIGHT.)

18

Charging system warning light

×

(See CHARGING SYSTEM WARNING LIGHT [SKYACTIV-G 2.5].)

19

Brake system warning light

×

(See BRAKE SYSTEM/ABS WARNING LIGHT.)

20

Headlight high-beam indicator light

(See HEADLIGHT HIGH-BEAM INDICATOR LIGHT.)

21

Seat belt warning light

(See SEAT BELT WARNING LIGHT.)

22

BSM OFF indicator light

With BSM

×

(See BLIND SPOT MONITORING (BSM) OFF INDICATOR LIGHT.)

23

Security indicator light

×

(See SECURITY INDICATOR LIGHT.)

24

Tire pressure monitoring system warning light

With TPMS

×

(See TIRE PRESSURE MONITORING SYSTEM WARNING LIGHT.)

25

Master warning light

×

(See MASTER WARNING LIGHT.)

26

Air bag/front seat belt pretensioner system warning light

×

(See AIR BAG SYSTEM WARNING ALARM.)

27

Power steering malfunction indicator light

×

(See POWER STEERING MALFUNCTION INDICATOR LIGHT.)

28

Shift position indicator/gear position indicator

ATX

(See SHIFT POSITION INDICATOR LIGHT [FW6A-EL].)

(See GEAR POSITION INDICATOR [FW6A-EL].)

29

DSC OFF indicator light

×

(See DSC OFF SWITCH, DSC OFF INDICATOR LIGHT.)


Alarm operation function


Name

Reference

Lights-on reminder warning alarm

(See LIGHTS-ON REMINDER WARNING ALARM.)

Seat belt warning alarm

(See SEAT BELT WARNING ALARM.)

Air bag system warning alarm

(See AIR BAG SYSTEM WARNING ALARM.)

Keyless warning alarm

(See KEYLESS WARNING ALARM.)

Tire pressure warning alarm (with TPMS)

(See TIRE PRESSURE WARNING ALARM.)

Panel light control indicator alarm

(See PANEL LIGHT CONTROL INDICATOR ALARM.)

Turn and hazard indicator alarm

(See TURN AND HAZARD INDICATOR ALARM.)

Smart city brake support (SCBS) warning alarm (with SCBS)

(See SMART CITY BRAKE SUPPORT (SCBS).)

MRCC warning alarm (with MRCC)

(See MAZDA RADAR CRUISE CONTROL (MRCC) SYSTEM [MAZDA RADAR CRUISE CONTROL (MRCC) SYSTEM].)

RCTA warning alarm (with BSM system)

(See BLIND SPOT MONITORING (BSM) SYSTEM.)

Blind spot monitoring (BSM) warning alarm (with BSM system)

(See BLIND SPOT MONITORING (BSM) WARNING ALARM.)

i-ELOOP warning alarm (with i-ELOOP)

(See i-ELOOP WARNING ALARM [i-ELOOP].)

FOW warning alarm (with forward obstruction warning (FOW) system)

(See FOW WARNING ALARM.)

LDWS warning alarm (with lane departure warning system (LDWS))

(See LDWS WARNING ALARM.)


Ignition is switched OFF (LOCK)

Order or precedence

Name

1

Keyless warning alarm (pattern A)

2

Lights-on reminder warning alarm

3

Keyless warning alarm (pattern B, C)

4

Turn and hazard indicator alarm

5

Panel light control indicator alarm


Ignition switch ON (engine off or on)

Order or precedence

Name

1

Seat belt warning alarm (Driver/passenger)

2

Tire pressure warning alarm (Tire pressure monitoring system initialization) (with TPMS)

3

Tire pressure warning alarm (Tire pressure monitoring system operating) (with TPMS)

4

FOW warning alarm (with forward obstruction warning (FOW) system)

5

Smart city brake support (SCBS) warning alarm (with SCBS)

6

MRCC warning alarm (with MRCC)

7

RCTA warning alarm (with BSM system)

8

Blind spot monitoring (BSM) warning alarm (with BSM system)

9

LDWS warning alarm (with lane departure warning system (LDWS))

10

Keyless warning alarm

11

Air bag system warning alarm

12

i-ELOOP warning alarm (with i-ELOOP)

13

Turn and hazard indicator alarm

14

Panel light control indicator alarm


Panel light control function
Vehicle specification information transmission function
Battery discharge suppression function

NOTE:



Unit

Control description

Front body control module (FBCM)

Day time running light turns off 5 min after it is illuminated. (Only when engine stopped)

Start stop unit

Ignition is switched off 25 min after ignition is switched to ACC or ON (engine off) (For ATX, only when selector lever is in P position).


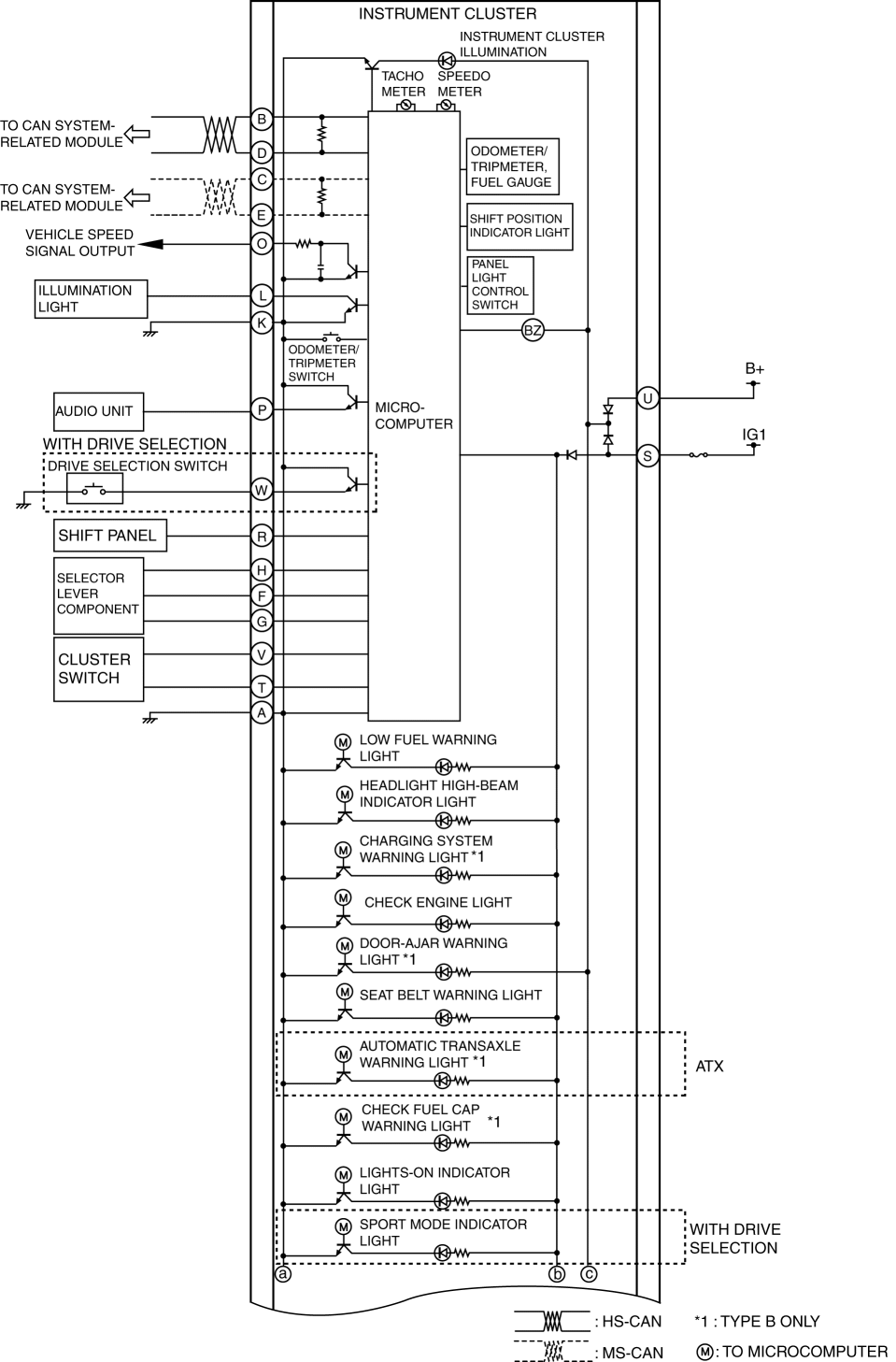
Structural View

System Wiring Diagram

Fail-safe

Speedometer
Tachometer
Fuel gauge
Odometer/tripmeter
Warning lights
Indicator lights
Alarm
Panel light
Trip computer information system
Ambient temperature display


< Previous   Next >
Back to Top
© 2012 Mazda North American Operations, U.S.A.