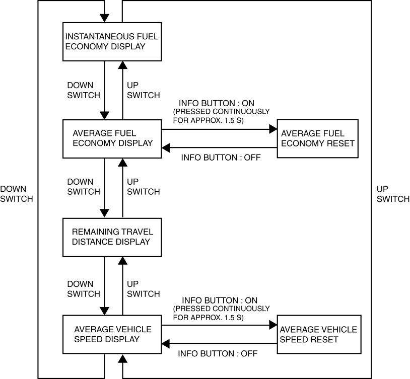
The trip computer system displays the instantaneous fuel economy, average fuel economy, remaining distance to empty, and the average vehicle speed.
The instrument cluster performs trip computer system fail-safe. (See INSTRUMENT CLUSTER.)
The instrument cluster controls the trip computer system based on the following CAN signals.
Vehicle speed signal, fuel injection amount signal, traveled distance signal sent from PCM
Fuel gauge sender unit voltage signal sent from rear body control module (RBCM)
Steering switch operation signal sent from start stop unit
The instrument cluster calculates the instantaneous fuel economy based on the fuel consumption and traveled distance over the past 2 s when the vehicle speed is at the set value or more. In addition, the calculation results are updated every 2 s.
Instantaneous fuel economy formula
When there is no fuel consumption, such as during engine braking, <0.0 L/100 km> or <99.9 mpg> is displayed.
The instantaneous fuel economy is displayed when the vehicle speed is 7.06 km/h {4.39 mph} or more, and <--- L/100 km> or <--- mpg> is displayed when the vehicle speed is 4.24 km/h {2.63 mph} or less.
The instrument cluster calculates the average fuel economy based on the traveled distance and fuel consumption from connecting the battery or resetting the average fuel economy. In addition, the calculation results are updated every minute.
Average fuel economy formula
If the cumulative traveled distance is 0 km, <99.9 L/100 km> or <0.0 mpg> is displayed.
If the INFO button is pressed for approx. 1.5 s or more while the average fuel economy is displayed, the cumulative fuel economy and cumulative traveled distance data are reset.
If tripmeter A is reset, the average fuel economy is also reset.
During the 1 min period after the data has been reset, <--- L/100 km> or <--- mpg> is displayed.
The instrument cluster calculates the remaining travel distance based on the instantaneous fuel economy, cumulative fuel economy and the fuel tank level. In addition, the calculation results are updated every second.
Remaining travel distance formula
When the fuel tank level reaches 6 L {2 US gal, 1 Imp gal} or less, the instrument cluster displays <0 km> or <0 miles>.
The instrument cluster calculates the average vehicle speed based on the cumulative traveled distance and cumulative traveled time from connecting the battery or resetting the average vehicle speed. In addition, the calculation results are updated every 10 s.
Average vehicle speed formula
If the INFO button is pressed for approx.1.5 s or more while the average vehicle speed is displayed, the average vehicle speed (cumulative traveled distance and cumulative traveled time data) is reset.
During the 1 min period after the data has been reset, <--- km/h> or <--- mph> is displayed.
When the ignition is switched ON (engine on), the instrument cluster receives (1) the vehicle speed signal, fuel injection amount signal, traveled distance signal from the PCM, the fuel gauge sender unit voltage signal from the rear body control module (RBCM), and the steering switch operation signal from the start stop unit.
The instrument cluster microcomputer calculates (2) the instantaneous fuel economy and average fuel economy based on the received data.
The instrument cluster microcomputer displays (3) the calculated results in the trip computer display screen.
The instrument cluster switches the trip computer display content as follows based on the steering switch operation signal from the start stop unit.
Display screen table