< Previous   Next >

2014 - Mazda6 - Engine

LUBRICATION SYSTEM [SKYACTIV-G 2.5]

Outline

Structural View

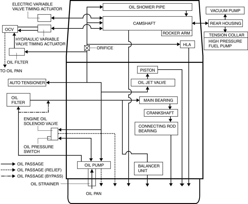
Flow View

Structure



Oil filter

Oil pan

Oil strainer

Oil pump

Oil jet valve

Engine oil solenoid valve

Oil shower pipe




< Previous   Next >
Back to Top
© 2012 Mazda North American Operations, U.S.A.