< Previous   Next >

2014 - Mazda6 - Engine

OIL JET VALVE [SKYACTIV-G 2.5]

Purpose, Function

Construction

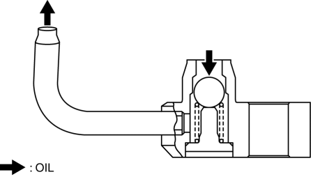
Operation

1. When the oil pressure applied to the check ball exceeds the spring force, the check ball and spring are pressed down.
2. The oil passage is opened to the nozzle and engine oil is injected to the back side of the piston.

3. When the oil pressure applied to the check ball is lower than the spring force, the spring presses up the check ball.
4. The oil passage to the nozzle is closed and the injection of engine oil stops.



< Previous   Next >
Back to Top
© 2012 Mazda North American Operations, U.S.A.