< Previous   Next >

2014 - Mazda6 - Body and Accessories

ACTIVE AIR SHUTTER CONTROL

Outline

Control Table

Control

Function

Content

Basic control

1. Basic function

(See 1. Basic function.)

  • Opens/closes the shutter according to the vehicle speed, engine coolant temperature, or the load condition due to A/C operation.

2. Shutter fully open/closed position learning function

(See 2. Shutter fully open/closed position learning function.)

  • Learns the shutter fully open/closed positions by opening/closing the shutter.

Protection control

1. Engine protection function

(See 1. Engine protection function.)

  • Opens the shutter to protect the engine if it is estimated that the engine coolant temperature is high or the engine oil temperature increases excessively.

2. ATX protection function

(See 2. ATX protection function.)

  • Opens the shutter to protect the ATX if the ATF temperature is high.

3. Throttle valve protection function

(See 3. Throttle valve protection function.)

  • Opens the shutter to prevent the engine oil temperature from increasing rapidly when the intake air temperature is low.

Fail-safe

(See Fail-safe.)

  • Opens the shutter if the active air shutter control has a malfunction.


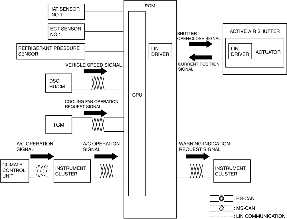
Block Diagram

Operation

NOTE:

Basic Control

1. Basic function

2. Shutter fully open/closed position learning function

NOTE:

Protection Control

1. Engine protection function
2. ATX protection function
3. Throttle valve protection function

NOTE:

Fail-safe



< Previous   Next >
Back to Top
© 2012 Mazda North American Operations, U.S.A.