< Previous   Next >

2014 - Mazda6 - Body and Accessories

Bluetooth UNIT

Purpose

Function

Specification



Item

Function

Profiles

A2DP 1.0/1.2 (Advanced audio distribution profile)

Sends/receives music or audio data.

AVRCP 1.0/1.3/1.4 (Audio/video remote control profile)

Sends/receives operation information.

HFP 1.0/1.5 (Hands-free profile)

Enables a call using a hands-free phone.

OPP 1.1 (Object push profile)

Phone book can be downloaded.

PBAP 1.0 (Phone book access profile)

Sends/receives phone book data.

Maximum number of devices can be registered

7

Devices can be used simultaneously

2


Construction

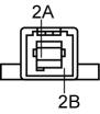
Terminal layout and signal


Terminal

Signal

1A

Mic input (+)

1B

Mic input (-)

1C

1D

1E

1F

1G

1H

1I

Audio output LH (+)

1J

Audio output LH (-)

1K

1L

Audio output shield

1M

Audio output RH (+)

1N

Audio output RH (-)

1O

1P

1Q

1R

1S

CAN_H

1T

CAN_L

1U

1V

1W

1X

Ground

1Y

1Z

1AA

B+

1AB

ACC

2A

USB ground

2B

USB data (+)

2C

USB data (-)

2D

USB power supply

3A

GPS

3B

Ground


Operation

Fail-safe



< Previous   Next >
Back to Top
© 2012 Mazda North American Operations, U.S.A.