< Previous   Next >

2014 - Mazda6 - Body and Accessories

ADAPTIVE FRONT LIGHTING SYSTEM (AFS)

Outline

Function

Swivel function


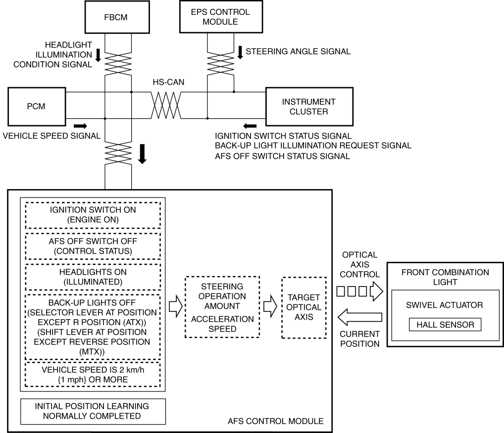
CAN signal sending module

Signal name

EPS control module

Steering angle signal

PCM

Vehicle speed signal

Instrument cluster

Ignition switch status signal

Back-up light illumination request signal

AFS OFF switch status signal

Front body control module (FBCM)

Headlight illumination status signal


Initial position learning function


CAN signal sending module

Signal name

PCM

Vehicle speed signal

Instrument cluster

Ignition switch status signal


Structural View

System Wiring Diagram

Construction

Operation

Swivel function
Operation condition

Item

Condition

Initial position learning

After normal completion

Headlight

ON (illumination)

AFS OFF switch

OFF (control status)

Gear position signal

Except reverse position

Vehicle speed

Control start: 2 km/h {1 mph} or more




< Previous   Next >
Back to Top
© 2012 Mazda North American Operations, U.S.A.