< Previous
Next >
2014 -
Mazda6 -
Engine
POSITIVE CRANKCASE VENTILATION (PCV) VALVE [SKYACTIV-G 2.5]
Purpose, Function
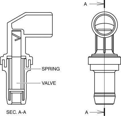
Construction
Operation
-
When the valve is pulled by the intake manifold vacuum, blow-by gas flows to the intake manifold.
-
Blow-by gas flow amount is adjusted by the spring according to the intake manifold vacuum.
< Previous
Next >
© 2012 Mazda North American Operations, U.S.A.