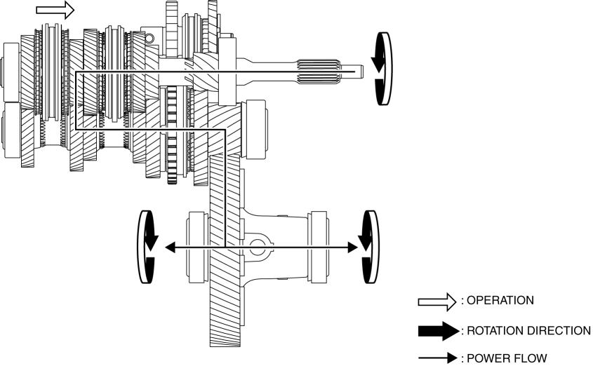
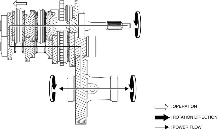
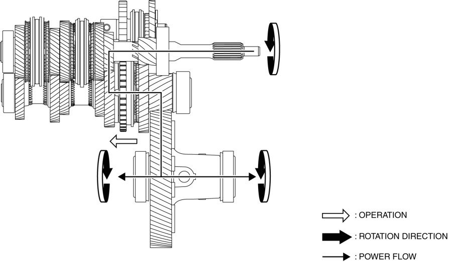
The powertrain mechanism changes the gear combination by engaging or releasing the clutch hub and gear, and changes the power transmission route. Because of the change in the power transmission route, the drive force (speed, torque, rotation direction) input from the engine is converted.
1GR
2GR
3GR
4GR
5GR
6GR
Reverse